| 產品分類 /Products |
|
|
| 聯系我們 /Contact US |
上海啟策動力測試設備有限公司
電 話: 021-69898517
銷售熱線: 013962902700
傳 真: 021-69898527
網 址: m.dayimx.cn
電子郵件: cegongji@163.com
(cegongji就是測功機的拼音)
地 址: 上海市嘉定區真南路4268號
|
|
|
| 新聞資訊 |
當前位置:首頁 > 新聞資訊 |
| |
區別于其他測功機的水力測功機有哪些特別之處 |
|

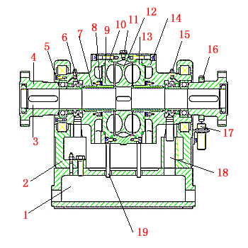
1.底座
2.左右軸承座
3.主軸部件
4.聯軸節
5.軸承壓板
6.骨架油封
7.軸套
8、9.雙金屬軸套
10.左右軸承外殼
11.左右側殼
12.螺塞
13.轉子
14.外殼
15.封水圈
16.測速齒輪
17.轉速傳感器
18.溢水管
19.旋塞
水力測功機其結構是由一架于滾動軸承上可擺動的外殼和架于主軸上的轉子組成。動力機輸出的機械能在這里轉化為熱能,并有進入殼體的水吸收而排出帶走。轉子凹坑與左右側殼凹坑形成工作腔,使水產生渦流,帶走熱能。
(2)水力測功機主要特點: ·轉子、定子均采用不銹鋼材料,凹坑式結構。 ·采用無接觸密封技術。 ·通過控制排水蝶閥來改變內腔工作壓力,從而改變吸收負載。 ·快速響應。因為通過改變排水閥的開度,內腔工作壓力瞬間變化,通過電子控制儀器的自動閉環控制,可方便、迅速地穩定到所需要的負荷值。從一個工況到另一個工況的過渡時間為4秒。 ·由于技術進步,我公司的YP系列產品價格已接近D系列水力測功器的價格,并成為主導型內燃機測功設備。 ·體積小、安裝容易、維護方便、使用壽命長。 ·適用范圍廣,功率型譜全。最小功率檔為1~20kW,最大檔可測試10000kW(國內引進的最大測試功率為35000kW)。 ·測試精度高,工作穩定可靠。
|
|
|
| |
|